Yakın zamanda yapılan bir patent başvurusu, Microsoft’un kullanıcıların oyunları nasıl oynadığını daha iyi anlamak için oyun içi etkinlikleri izlemek isteyebileceğini gösteriyor. Teknoloji devi son zamanlarda oyun alanındaki ayak izini genişletmek için aktif olarak çalışıyor ve bu patent başvurusu Microsoft’un bu alandaki en yeni çabası olarak karşımıza çıkıyor.
Microsoft, Bethesda, bekleyen Activision Blizzard satın alımı, Game Pass aboneliği ve bulut oyun hizmetleri gibi önemli satın alımlarla oyun endüstrisinde ilerleme kaydetmeye çalışıyor. Microsoft, özellikle FTC’nin Activision’ı satın alması nedeniyle teknoloji devine dava açmasının ardından, şu anda kendi payına düşen zorluklarla karşı karşıya olsa da şirket oyun tutkusunu yavaşlatacak gibi görünmüyor.

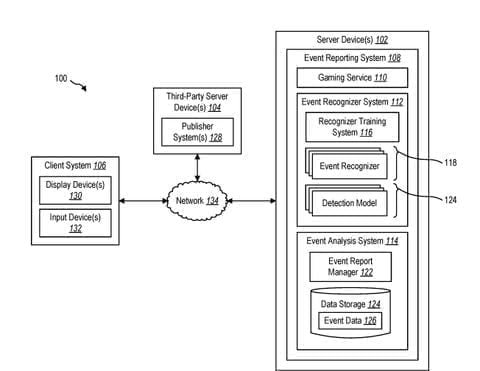
Patent başvurusuna göre Microsoft bir oyun içi olay izleme ve raporlama sistemi üzerinde çalışıyor gibi görünüyor. Buradaki fikir, sistemin seviye ilerlemesi, duraklatma menüsünün ne sıklıkla açıldığı, kazanma istatistikleri ve oyunu etkileyen çok sayıda başka olayı izleyebilecek gibi görünüyor. Takip sistemi tek bir oyunla sınırlı kalmayacak. Olay izleme sistemi oyun içeriğine bağlı olduğundan, PC, konsol veya mobil gibi farklı oyun sistemlerindeki olayları da tespit edebilecek.
İzleme sisteminin en ilginç yönlerinden biriyse kariyerleri çeşitli oyun ve türlere yayılan rekabetçi oyuncular için kapsamlı raporlar sağlamak. Bu tür etkinlik raporları, seviye geçme istatistikleri, kazanma/kaybetme verileri, oyun süresine ilişkin istatistikler ve oyun içi etkinlik örneklerinin izlenmesinden elde edilen bir dizi başka ilgili bilgiyi içerebilir. Bu arada, bu kullanım durumu Microsoft’un e-spor müsabakalarını analiz etmesini sağlayacak bir sistem için başka bir patentle aynı doğrultuda.
Microsoft ayrıca izleme sisteminin kullanıcı istismarlarını, oyunlardaki hatalarla ilgili olayların sıklığını ve diğer beklenmedik olayları belirlemek için bile kullanılabileceğini iddia ediyor. Dosyalama, sistemin bir oyuncunun sistem bant genişliğini veya yerel kaynaklarını kullanmayacağını, bunun yerine bulut bilişim imkânlarıyla çalışacağını belirtiyor. Ayrıca Microsoft, sistemin video, ses ve kontrolör girdileri gibi oyun içeriğine bağlı olacağından, belirli bir oyun uygulamasının yazılımına, kaynak koduna veya işleme sinyallerine erişmeye gerek kalmadan çalışacağına dikkat çekiyor.
Şu an itibariyle Microsoft’un bu sistemi kendi ekosistemine nasıl dahil edeceği ve sektördeki diğer oyuncuları nasıl sisteme katacağı belirsizliğini koruyor. Her halükarda teknoloji devi, 69 milyar dolarlık devasa Activision Blizzard satın alımını artan düzenleyici baskılar arasında gerçekleştirmeye çalışırken daha acil sorunlarla karşı karşıya kalabilir.
Derleyen: Alp Eren Gümüş





